首页
新的苹果潜望镜镜头专利可能适用于2023年的iPhone系列
返回

新的苹果潜望镜镜头专利可能适用于2023年的iPhone系列

2022-12-18 科技信息 By:佚名
最佳答案自去年以来,分析师一直声称苹果将在未来的 iPhone 系列中添加潜望镜摄像头。早在 3 月份,人们就认为我们可能要到 2023 年才能看到任何配备它的 iPhone 。无论如何,苹果潜望镜相机的新专利已经被发现。根据Patently Apple 的说法,这家库比蒂诺公司刚刚获得了欧洲专利商标局的“折叠相机&rdq...

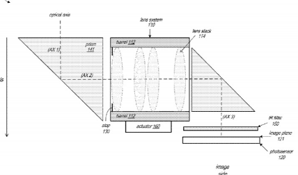
自去年以来,分析师一直声称苹果将在未来的 iPhone 系列中添加潜望镜摄像头。早在 3 月份,人们就认为我们可能要到 2023 年才能看到任何配备它的 iPhone 。无论如何,苹果潜望镜相机的新专利已经被发现。

根据Patently Apple 的说法,这家库比蒂诺公司刚刚获得了欧洲专利商标局的“折叠相机”专利。它提到在移动设备中使用多镜头系统“以低 F 值捕获高分辨率、高质量的图像”。顺便说一下,这里的 F 可能指的是镜头的光圈。基本上,它描述的是潜望镜相机模块。

此前有传言称,苹果将为 2023 款 iPhone 系列配备潜望式摄像头。但该公司可能不会将其仅限于 iPhone,因为该专利还提到了“平板电脑和平板设备”。这可能意味着 Apple 正在考虑将其添加到 iPad 中,尽管它不是最实用的实现方式。

猜你喜欢
手机进水怎么处理声音变小了(手机进水怎么办呢)

手机进水怎么处理声音变小了(手机进水怎么办呢)

12-18 0 阅读
卡洛斯 罗德里格斯(关于卡洛斯 罗德里格斯的介绍)

卡洛斯 罗德里格斯(关于卡洛斯 罗德里格斯的介绍)

12-18 0 阅读
编辑并回答如何恢复百度网盘删除的文件的方法

编辑并回答如何恢复百度网盘删除的文件的方法

12-18 0 阅读
颜色是空的第2部分

颜色是空的第2部分

12-18 0 阅读
六轴全自动绕线机(关于六轴全自动绕线机的介绍)

六轴全自动绕线机(关于六轴全自动绕线机的介绍)

12-19 0 阅读
小小容祖儿酷我音乐(小小容祖儿歌词)

小小容祖儿酷我音乐(小小容祖儿歌词)

12-19 0 阅读
热门推荐
手机进水怎么处理声音变小了(手机进水怎么办呢)

手机进水怎么处理声音变小了(手机进水怎么办呢)

12-18 0 阅读
卡洛斯 罗德里格斯(关于卡洛斯 罗德里格斯的介绍)

卡洛斯 罗德里格斯(关于卡洛斯 罗德里格斯的介绍)

12-18 0 阅读
编辑并回答如何恢复百度网盘删除的文件的方法

编辑并回答如何恢复百度网盘删除的文件的方法

12-18 0 阅读
颜色是空的第2部分

颜色是空的第2部分

12-18 0 阅读
六轴全自动绕线机(关于六轴全自动绕线机的介绍)

六轴全自动绕线机(关于六轴全自动绕线机的介绍)

12-19 0 阅读
小小容祖儿酷我音乐(小小容祖儿歌词)

小小容祖儿酷我音乐(小小容祖儿歌词)

12-19 0 阅读
媳妇是怎样炼成的演员表(关于媳妇是怎样炼成的演员表的介绍)

媳妇是怎样炼成的演员表(关于媳妇是怎样炼成的演员表的介绍)

12-18 0 阅读
欧洲智能手机市场萎缩了24%

欧洲智能手机市场萎缩了24%

12-18 0 阅读
竹叶简笔画图片带颜色(竹叶简笔画)

竹叶简笔画图片带颜色(竹叶简笔画)

12-18 0 阅读
饭疏食饮水曲肱而枕之拼音(饭疏食饮水)

饭疏食饮水曲肱而枕之拼音(饭疏食饮水)

12-19 0 阅读